Grohe Allure Tek Kumandalı Lavabo Bataryası M- Boyut - 32757000
0,00 TL
600TL ÜZERİ KARGO BEDAVA
- Ürün Özellikleri
- Ödeme Seçenekleri
- Yorumlar (0)
- Tavsiye Et
-
Elegance and luxury performance – the versatile GROHE Allure tek kollu lavabo batarya!
Teknik Veriler
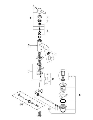
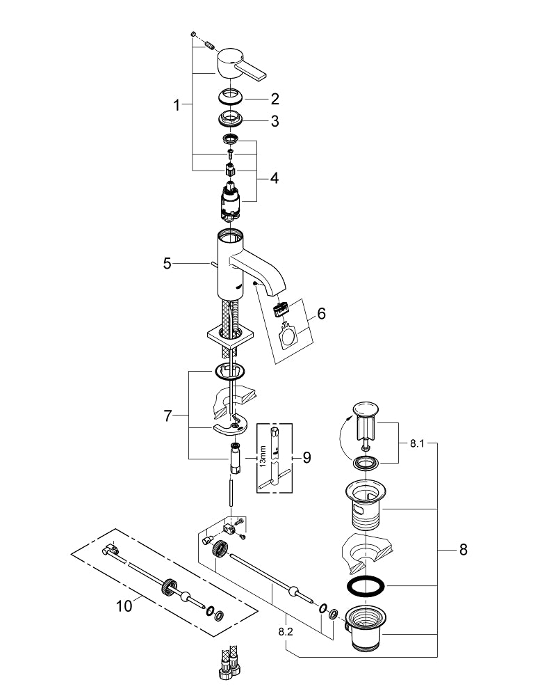
Pos. No. Prod. Beschreibung 1 Kumanda Kolu 2 Kapak 3 Montaj halkası 4 Kartuş 5 Kumanda çubuğu 6 Perlatör 7 Vida bağlantılı montaj 8 Gider seti 1 1/4" 8.1 tapa 8.2 Top çubuk 9 İngiliz anahtarı 10 Top çubuk Özellikler
- GROHE SilkMove 28 mm seramik kartuş
- GROHE LongLife kaplama
- GROHE su tasarrufu 6.0 l/dk. akış limitleyicili
- hızlı montaj sistemi
- perlatörlü
- sifon kumanda seti 1 1/4"
- spiral bağlantı hortumları
Dökümanlar
***Türkiye dışından mal alım taleplerinde kargo ve gümrükleme bedelleri alıcıya aittir.
Benzer Ürünler
